服務熱線
021-33617555
全國服務熱線:
021-33617555
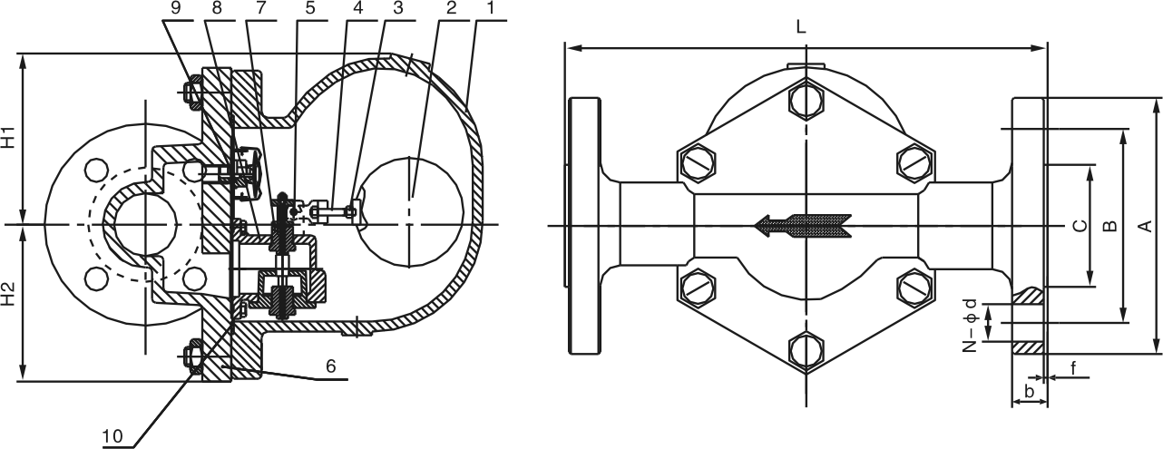
FT44FT43杠桿浮球式疏水閥基本特點與自由浮球式相同,內部結構是浮球連接杠桿帶動閥心,隨凝結水的液位升降進行開關閥門。杠桿浮球式疏水閥利用雙閥座增加凝結水排量,可達到體積小排量大,****疏水量達100噸/小時,是大型加熱設備****的疏水閥。
FT43H杠桿浮球式疏水閥適用于輕重工業及樓宇管道。可應用于:化工、石化、石油、造紙、采礦、電力、液化氣、食品、制藥、給排水、市政、機械設備配套、電子工業,城建等領域。
技術要求Technical Requirement
1、設計制造按GB/T22654-2008的規定。
2、結構長度,標志按GB/T12250-2005的規定
3、試驗與檢驗按GB/T12251-2005的規定。
4、法蘭尺寸標準按 ASME B16.5的規定。


